Pin Element 8

Body, St, bright zinc-plated Grub screw DIN 916-M6x12, St, bright zinc-plated Dowel ISO 8735-6m6x16, St, hardened

Tootekood: 0.0.265.37 Kategooria: Silt:
Set CAD-format
Pin Element 8CADPDFRFQ

Preview

Scope of Delivery

Body, St, bright zinc-plated Grub screw DIN 916-M6x12, St, bright zinc-plated Dowel ISO 8735-6m6x16, St, hardened

Properties

line 8line 8
ESD-safeYes
Weightm = 34 g
Delivery unit1 pce.
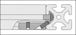
The Pin Element is used to add extra rigidity to power-lock connections, e.g. between horizontal braces and continuous vertical profiles which are subject to heavy load. Preferably used in pairs, Pin Elements can provide additional support for Standard, Universal and Automatic Fasteners.
The Pin Element is inserted into the profile groove in the end face and, after applying the Standard, Universal or Automatic Fasteners, is then pushed against the end of the profile and fixed in position. A ⌀ 5.9 mm bore is provided in the profile for the dowel. The load-bearing capacity of the connection against movement is increased to max. 3,000 N per element.